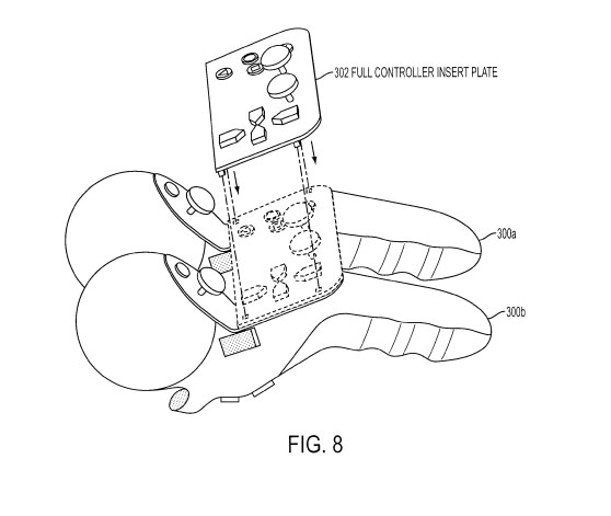
Sony nous prépare donc un Wiimote pour sa PS3. L’objet se compose de 2 pads qui peuvent être branché l’un l’autre. Les photos et explications après le saut.
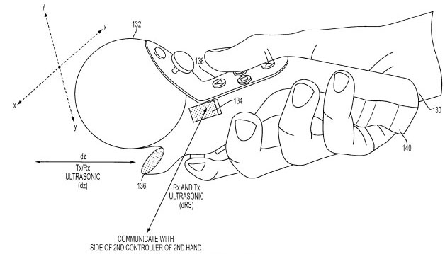
Voila donc comment la bête se présente : 2 pads avec une boules, qui peuvent être tenus soit 1 dans chaque main, soit attachés ensemble.
Le tout semble marcher avec le Playstation Eye.




originalité, quand tu nous tiens…
Ca a l’air compliqué à manipuler …
Et… PAF le lustre xD
Mon dieu… que c’est moche! o_o